服務熱線
180-5003-0233
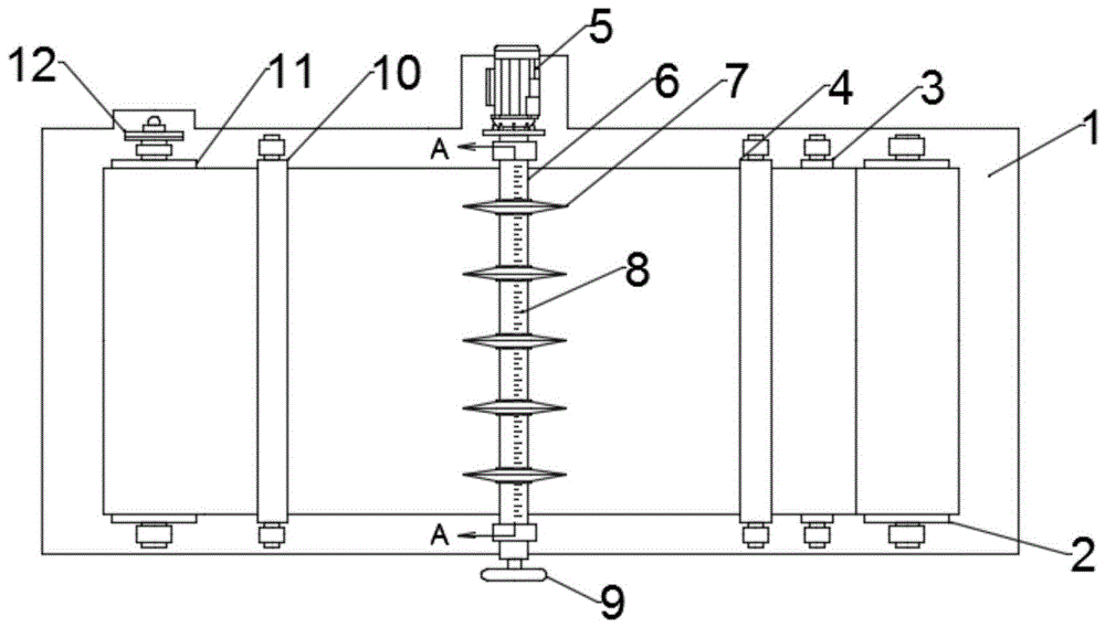
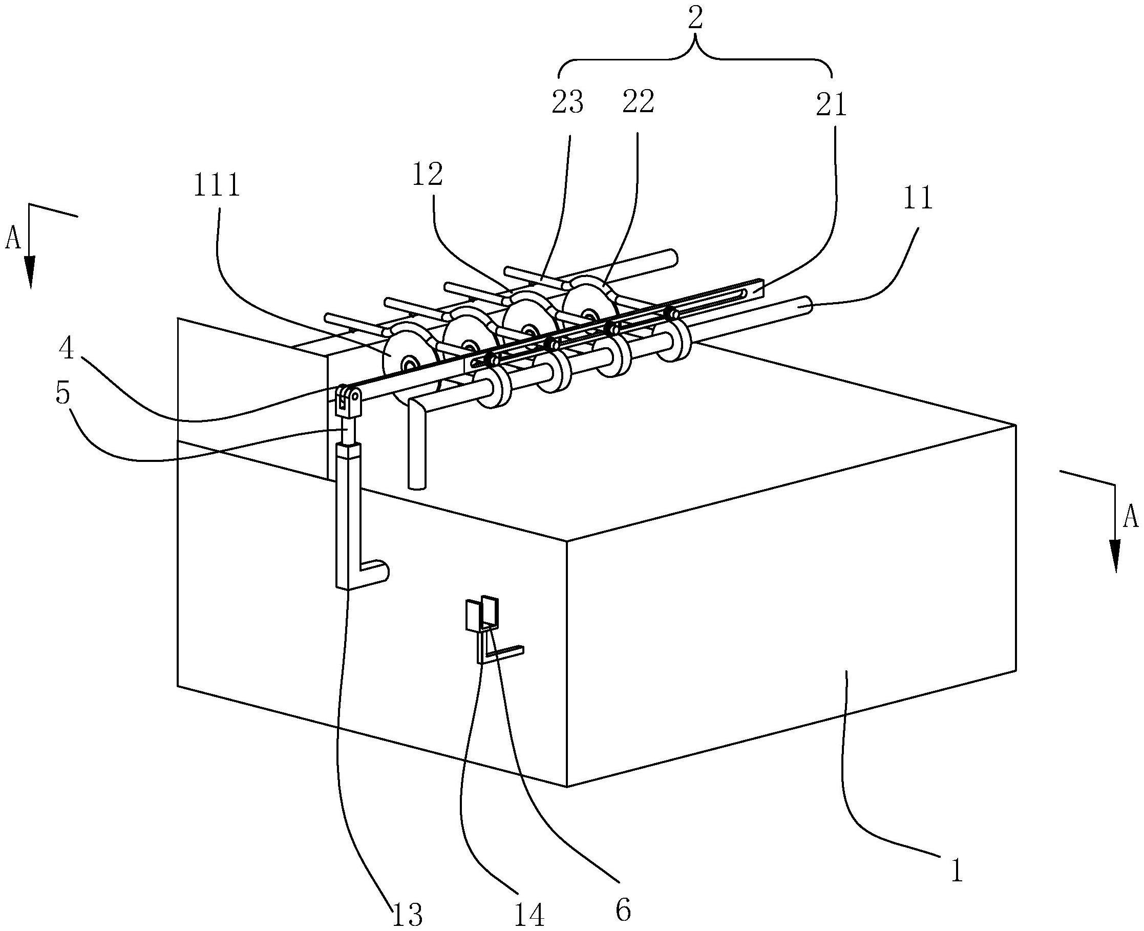
無紡布分切機是一種專門用于將無紡布材料進行分切的設備。在使用該機器進行分切時,需要通過正確地調整機器的張力,才能保證分切出來的無紡布面料質量符合要求。本文將從以下幾個方面介紹無紡布分切機張力正確調法。

1、了解無紡布面料的性質
在進行無紡布分切機張力調整前,首先需要了解無紡布面料的性質。無紡布是由纖維或片狀物質通過化學、機械或熱力等方法互相交織而成的非織造紡織品。由于無紡布面料自身沒有織造結構,因此其表面張力較小,容易出現拉伸和變形。同時,不同種類的無紡布面料也有著不同的物理和化學性質,如重量、密度、硬度等。
2、調整切刀與滾筒之間的距離
無紡布分切機工作時,切刀與滾筒之間的距離直接影響到無紡布面料的張力大小。如果切刀與滾筒之間的距離過大,則無紡布面料在分切時容易出現松弛,張力會變??;反之,如果距離過小,則無紡布面料會過度拉伸,張力會變大。因此,在進行無紡布分切機張力調整時,需要根據無紡布面料的性質和要求,調整切刀與滾筒之間的距離,來控制無紡布面料的張力。
3、調整張力裝置的張力大小
無紡布分切機上通常配有張力裝置,用于控制無紡布面料在分切過程中的張力大小。通過調整張力裝置的張力大小,可以使無紡布面料保持適當的張力狀態(tài),從而達到較好的分切效果。具體的張力大小需要根據無紡布面料的性質和要求進行調整,一般需要經過多次試驗才能找到最佳的張力大小。
4、選擇合適的分切速度和刀片形狀
無紡布分切機在工作時,還需要選擇合適的分切速度和刀片形狀,以達到最佳的分切效果。如果分切速度過快,容易導致無紡布面料拉伸過度,張力變大;反之,如果分切速度過慢,則容易導致無紡布面料松弛,張力變小。此外,不同的刀片形狀也會影響到無紡布面料的分切效果和張力大小。因此,在進行無紡布分切機張力調整時,還需要選擇合適的分切速度和刀片形狀。
總之,無紡布分切機張力正確調法需要根據無紡布面料的性質和要求,通過調整切刀與滾筒之間的距離、調整張力裝置的張力大小、選擇合適的分切速度和刀片形狀等多個方面來達到最佳的分切效果和張力狀態(tài)。在實際操作中,還需要經過多次試驗才能找到最適合自己方法。